咨詢熱線
021-56037469
021-56381771
021-56318899
021-56325777參數范圍 |
流量:15~145(m3/h) |
揚程:4~25(m) |
溫度:-15℃~40℃ |
壓力:≤0.6(Mpa) |
泵軸:不銹鋼 |
泵體、端蓋、葉輪:鑄鐵 |
機械密封:石墨,碳化鎢/硅,硬質合金 |
產品概述:
| 品牌 | 帕特 | 產地 | 上海 |
| 吸入方式 | 單吸 | 泵軸位置 | 立式 |
| 材質 | 鑄鐵,不銹鋼 | 連接方式 | 法蘭 |
| 介質 | 工業廢水,含纖維的污水 | 旋轉方向 | 由電機向葉輪看順時針旋轉 |
| 葉輪結構 | 封閉式葉輪 | 特性 | 特別適用輸送含有長纖維的污水 |
AS型潛水排污泵采用德國ABS公司的技術,適用于輸送含有堅硬固體、纖維的液體,以及臟、粘和滑的液體。所有AS泵均裝有經調整好的撕裂機構能將污水中長纖維、袋、帶、草、布條等撕裂后排出。因此,在污水中工作不會堵塞運行極為可靠。
型號意義:
例:AS 75 - 2 CB
CB-抗堵塞撕裂機構
2-電機的極對數
75-電機功率乘以10的圓整值
AS-潛水式排污泵
產品特點:
1、本型泵特別設計了一種特殊的撕裂機構,能夠將纖維物質撕裂,切斷,然后順利排放,而無需再泵加裝過濾網,因此本型泵特別適用于輸送含有長纖維物質的污水
2、采用新型材料精制而成機械密封,其使用壽命可達8000小時以上
3、具有全程成泵的特點,能夠在全揚程范圍內工作而保證電機不會過載
4、可采用雙導軌自動耦合安裝裝置,使機組的安裝,維修方便快捷
5、可根據用戶的需要配備何種形式的自動控制柜,不需專人看管使用極為方便且易實現自動化管理
產品用途:
1,市政工程排污系統
2,生活小區污水排放
3,公共設施污水排放
4,廠礦企業排污系統
5,其他無腐蝕清潔介質的輸送
6,可適用于其他排水系統
性能參數表:
泵型號 | 流量(m3/h) | 揚程(m) | 功率(kw) | 轉速(r/min) | 電壓(v) | 膠管內徑(mm) |
AS10-2W/CB | 15 | 4 | 1.1 | 2850 | 220 | 76 |
AS10-2CB | 15 | 4.5 | 1.1 | 2850 | 380 | 76 |
AS16-2CB | 29 | 7.6 | 1.5 | 2850 | 380 | 76 |
AS30-2CB | 42 | 11 | 3 | 2850 | 380 | 76 |
AS55-2CB | 45 | 13 | 5.5 | 2900 | 380 | 127 |
AS55-4CB | 100 | 7.5 | 5.5 | 1450 | 380 | 152 |
AS75-2CB | 60 | 18 | 7.5 | 2900 | 380 | 127 |
AS75-4CB | 145 | 10 | 7.5 | 1450 | 380 | 152 |
AV14-4 | 22 | 5.8 | 1.5 | 1450 | 380 | 76 |
AV55-2 | 30 | 20 | 5.5 | 2900 | 380 | 76 |
AV75-2 | 30 | 25 | 7.5 | 2900 | 380 | 76 |
備注:性能參數表均只做參考,如需產品相關安裝圖等詳細參數說明書請致電:021-56386999。
安裝方法:
1.安裝前仔細查
潛水電泵安裝前, 首先應檢查泵軸是否轉動靈活,若發現泵軸轉動不靈活,有撞擊聲,泵軸徑向晃動,應排除故障后再安裝。其次檢查進水膠管有無破損,如有開裂要及時粘修。第三檢查各緊固螺栓有無松動,要擰緊松動的螺栓。最后檢查潛水泵的電機繞組、電纜線絕緣電阻,只有不低于0.5 兆歐才允許安裝使用。
2.正確配電
電源線應按規定選用,電纜線要架空,電源線不要太長,若電源與水泵使用地距離較遠,接線電纜的導線截面積應適當加大,接頭應盡量少,以減少線路壓降。10kW 以下的潛水泵可直接啟動,控制設備最好采用自動空氣斷路器,若無此種電器,也可用閘刀開關,但須根據潛水泵的工作電流安裝合適的熔絲。10kW 以上的潛水泵應配備降壓啟動柜, 來保護潛水泵的安全運行。電纜線需放入輸水管法蘭盤的凹槽內,并用耐水綁繩將電纜固定在輸出管上。潛水泵下水或出水時切勿使電纜受力, 以免引起電源線斷裂,同時,還要防止電纜下井過程中擦傷。
3.要有兩級漏電保護措施
為確保安全, 可在電源或水泵附近的潮濕地中埋入一根長度1m 以上的金屬棒作為潛水泵的接地體。同時還要安裝安裝漏電保護器。因為潛水泵在水下工作, 容易漏電造成電能損失甚至引發觸電事故。如果裝有漏電保護器,只要潛水泵漏電值超過漏電保護器的動作電流值(一般不超過30 毫安),漏電保護器就會切斷潛水泵的電源,避免漏電,確保安全。
4.入水前檢查電機旋轉方向
因為現在有許多類型的潛水泵正轉和反轉時皆可出水,但反轉時出水量小、電流大,其反轉時間長了會損壞電機繞組。因此,潛水電泵入水前,先接電源檢查旋轉方向是否正確。若三相潛水泵葉輪倒轉,應立即停車, 調換電纜中三相芯線中任意兩相的接觸即可。
5.潛水泵的安裝位置要正確
充油式潛水泵潛入深度應在0.35~3m,最深不得超過10m;干式、半干式、充水式潛水泵,潛入深度為1m, 過深將影響機械密封作用。潛水泵在潛入水中時,應垂直吊起,不能橫臥著,更不能陷人泥中,否則會導致電機散熱不良而燒壞電機繞組。潛水泵在下井過程中若遇到卡住現象時,應吊起少許,輕輕轉動卡板再試著下落,如果各種措施都不見效時,只好將潛水泵提出井外查明原因后再下井。對清水型潛水泵,在進水濾網外面最好套上竹籃或鐵絲網,否則,雜草污物進入泵內,會堵塞葉輪或進水口。
6.小型潛水泵安裝有特殊要求
對小型潛水泵,由于多為臨時安裝,將輸水膠管連接到潛水電泵的出水接頭上時,一定要用管卡或8號鐵絲扎牢緊固,防止松脫或漏水。安裝好后應將吊裝的纜索及膠管固定,不能讓膠管承受拉力,否則,造成膠管的破口或接頭松脫。放入或吊出水面,需用直徑4mm 的鋼絲繩, 慢慢將潛水電泵沉入水中或提出水面。
7.安裝完畢測試絕緣電阻
電泵安裝結束,用500V 兆歐表測量繞組之間和繞組與地之間的絕緣電阻,不應低于0.5MΩ。
8.設置安全警示標志為防止意外事故的發生,應在潛水泵附近設置明顯的警示標志。為保證安全,嚴禁人員、牲畜在潛水泵出口附近接觸水源。
注意事項:
1.電壓異常不開機
電壓過高和過低都會使潛水泵溫升過高,縮短使用壽命甚至燒毀潛水泵。農村由于低壓供電線路比較長,線路的末端電壓過低,線路的始端電壓過高是常有的事。因此,在使用潛水泵過程中,操作者必須隨時觀察電源電壓值,若低于額定電壓10%以下,高于額定電壓10%以上, 或電流大于潛水泵額定電流的20%時,應立即停機檢修。
2.不宜頻繁起動
潛水泵不宜過于頻繁起動,這是因為潛水泵停轉時會產生回流,若立即開機,會使電機負載啟動,導致啟動電流過大而燒壞繞組,必須等管內的存水回流完畢后,才能起動,一般需要間隔5 分鐘左右。
3.注意水位變化
潛水泵在抽水過程中,要注意水位降,特別抽井水時, 必須注意不得讓潛水泵露出水面進行工作,更不允許長時間脫水運行,否則,電機發熱,燒壞定子繞組。
4.發現異常立即停機
潛水泵抽水時,應有專人值班,發現工作電流忽然高出潛水泵額定電流;出水量不正常,間隙性出水;出水含沙量加大;明顯的噪音震動加劇;輸水管路損壞;保險絲燒壞一相;電網電壓過低;通電后潛水泵不轉;起動后不能出水等情況之一時,要立即停機進行檢查。
5.停用的潛水泵要定期開機防銹蝕
潛水泵如果下井后不連續使用, 時間長了,會銹蝕,導致不能啟動。因此,應每周開機一次,并運行5~10 分鐘,以防銹蝕。
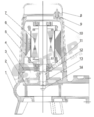
結構圖:

| 序號 | 名稱 | 序號 | 名稱 |
| 1 | 底座 | 8 | 提手 |
| 2 | 泵體 | 9 | 上蓋 |
| 3 | 葉輪 | 10 | 電機殼體 |
| 4 | 軸承座 | 11 | 油封 |
| 5 | 滾動軸承 | 12 | 主軸 |
| 6 | 定子鐵心 | 13 | 機械密封 |
| 7 | 轉子鐵心 | 14 | 葉輪螺母 |
安裝尺寸圖:

安裝尺寸表:
| 泵型號 | H | H1 | L | L1 | L2 |
| AS10-2CB | 475 | 290 | 420 | 270 | 105 |
| AS16-2CB | 475 | 290 | 420 | 270 | 105 |
| AS30-2CB | 530 | 325 | 470 | 305 | 105 |
| AS40-2CB | 595 | 340 | 505 | 320 | 105 |
| AS55-2CB | 710 | 396 | 620 | 390 | 165 |
| AS75-2CB | 730 | 396 | 620 | 390 | 185 |
| AS55-4CB | 830 | 495 | 820 | 535 | 180 |
| AS75-4CB | 856 | 495 | 820 | 535 | 200 |
性能曲線圖:







